近日网上曝出了一款Ninjia S2的海报,650mL排量,仔细一看原来是变款的川崎ER-6F。


排量、油箱位置以及发动机侧盖基本相同,只是大灯有些变动。


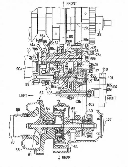
而更让人激动人心的是这款ER-6F的变款还将搭载机械增压发动机,并且已经申请了专利。这将是川崎第二款搭载机械增压式发动机的车型。从专利图上可以看出此发动机的机械增压单元不同于早前川崎在N2R上使用的机械增压单元,发动机的体积也更加小巧,更适合安装在小排量车款。


目前,川崎把这款搭载着机械增压的发动机车款暂且标注为S2,之前有消息称,这款发动机将搭载在川崎中量级跑车ZX-6R上,如果真是那样那“杠6”就真无敌了。但是鉴于川崎已经有了搭载机械增压的顶级车款H2,搭载在ZX-6R上就有些“多余”了,而ER-6F的用途更广,潜在用户群体也更加,搭载这款发动机也将有更好的市场回报。


不管搭载在哪款车上,对于广大车友来说川崎的机械增压发动机都离我们越来越近了,毕竟ER-6F同款的Ninja 650和ZX-6R在中国都有售。